נושא הדור הבא

מחשב, קונסולות וכל מה שאפשר לשחק בו

המנהלים: bozeman, erezronen

idan
Veteran
הודעות: 2280
הצטרף: 04 אוגוסט 2013, 00:13

Re: נושא הדור הבא

הודעהעל ידי idan » 10 אוקטובר 2019, 13:59

סוני בינתיים משחקת בונקר, שזה אמנם לא יפה לצפייה אבל כנראה אפקטיבי עבורם בשלב הזה בהתחשב ביתרון הדי גדול שהם צברו בדור האחרון. יש לי עוד כמה קלישאות כדורגל שאפשר לאמץ לעניין כמו שלב הגישושים,מי שלא תוקף עלול בסוף לספוג וכמובן מייקרוסופט שתוקפים גלים גלים (יש לה חזון הרבה יותר ברור לדור הבא עם הגיימפאס וכו' והיא לא מהססת לדבר עליו בכל הזדמנות) :)
אבל נמתין בסבלנות כמה חודשים בשביל לראות במה מדובר ואם זה היה שווה את כל הבילד אפ, אני רק מקווה שזה יהיה בתחילת שנה הבאה כמו בדור הקודם ולא נצטרך לחכות עד e3 או משהו כזה. אני מת כבר לראות איך נראה הדור הבא... למרות שאני חייב להגיד שגרפית משחקים בדור הזה עדיין מאוד יפים בעיני, לא נמאס לי מהם.

סמל אישי של המשתמש
bling
Elder
הודעות: 10306
הצטרף: 13 אפריל 2013, 23:22

Re: נושא הדור הבא

הודעהעל ידי bling » 10 אוקטובר 2019, 15:25

קיאו אני מסכים שאפשר להבין את ההיגיון, במיוחד אם המצב הזה נכפה עליהם בגלל מייקרוסופט הפטפטנית שרק רוצה שהדור הזה יגמר ושתוכל כבר להתחיל דור חדש, ועדיין אני חושב שיכלו לעשות מיני אירוע או משהו נחמד שמעורר קצת יותר הייפ. אולי למשל לעשות state of play שבחלקו מוקדש גם לדור הבא, היו משווקים אותו כ SOP רגיל שאחת מהכותרות שלו זה ״עדכון קצר לגבי הדור הבא של פלייסטיישן״, ושם ג׳ים ראיין ומארק סרני היו אומרים את מה שהם אמרו בריאיון ב WIRED, תחשוב כמה אנשים היו מתחברים בציפייה לראות את העדכון הקטן הזה, יכלו לעשות שם בסרטון את ההכרזה על השם בצורה חצי הומוריסטית.

בקיצור קצת יותר צבע להכרזות.

עידן, מסכים איתך אני חושב שזה הדור הראשון שאפשר לאמר שגם אם מחר ההתפתחות הטכנולוגית היתה נעצרת, משחקים בהחלט נראים ״טוב מספיק״, אישית אני כבר לא מתלהב מהגראפיקה שלהם, אפילו TLOU2 כבר לא הלהיב אותי גראפית כי זהו כבר הגענו לשיאים הגראפיים של הדור הזה (עם אנצ׳רטד 4, הוריזון ובעיקר RDR2 שסגר את הגולל) ומאז כל מה שראינו מקסימום מרגיש כבר איטרציה קטנה (במקרה הטוב, לרוב RDR2 עדיין יותר מרשים מכל מה שיוצא) ולא גראפיקה ברמה שלא נראתה בעבר אבל בניגוד לדורות קודמים הכל נראה כבר ממש מצויין ונעים לעין.

ועדיין רק תראה את ההדגמה שקיאו הביא של הסופה מאנריל 4 ותדמיין משחק עולפ פתוח כמו RDR3 נגיד עם סערה כזאת, יש המון עוד לאן להתקדם וזה שמשחקים נראים באמת יפים לעין היום זה לא אומר שאנחנו מגרדים את השטח בכלל של הפוטנציאל של המדיום שטכנולוגיה מתקדמת יכולה לממש.

סמל אישי של המשתמש
DrKeo
Site Admin
הודעות: 42472
הצטרף: 08 אפריל 2013, 23:19

Re: נושא הדור הבא

הודעהעל ידי DrKeo » 10 אוקטובר 2019, 15:58

bling כתב:קיאו אני מסכים שאפשר להבין את ההיגיון, במיוחד אם המצב הזה נכפה עליהם בגלל מייקרוסופט הפטפטנית שרק רוצה שהדור הזה יגמר ושתוכל כבר להתחיל דור חדש, ועדיין אני חושב שיכלו לעשות מיני אירוע או משהו נחמד שמעורר קצת יותר הייפ. אולי למשל לעשות state of play שבחלקו מוקדש גם לדור הבא, היו משווקים אותו כ SOP רגיל שאחת מהכותרות שלו זה ״עדכון קצר לגבי הדור הבא של פלייסטיישן״, ושם ג׳ים ראיין ומארק סרני היו אומרים את מה שהם אמרו בריאיון ב WIRED, תחשוב כמה אנשים היו מתחברים בציפייה לראות את העדכון הקטן הזה, יכלו לעשות שם בסרטון את ההכרזה על השם בצורה חצי הומוריסטית.

בקיצור קצת יותר צבע להכרזות.

בתאוריה אני מסכים איתך, אבל אני חושב שסוני לא ממש רוצים להציג כלום עד שנה הבאה וכל עוד זה מגיע מכתבות WIRED זה נותן כמעט הרגשה של "נתנו לבחור ההוא להציץ ולספר לכם קצת אבל אנחנו בנתיים לא חושפים כלום". זה סוג של לאכול את העוגה ולהשאיר אותה שלמה, הם גם חושפים דברים וגם משחקים אותה כאילו הם לא חושפים כלום. למרות שאני לגמרי מסכים שאם היינו מקבלים איזה STATE OF PLAY באפריל עם קצת דיבוריי הייפ על הפס5 והדמו של ספיידרמן כנראה שזה יהיה הרבה יותר מרגש. מצד שני סוני כנראה שומרים את המרגש שלהם לפברואר או מרץ :)

bling כתב:עידן, מסכים איתך אני חושב שזה הדור הראשון שאפשר לאמר שגם אם מחר ההתפתחות הטכנולוגית היתה נעצרת, משחקים בהחלט נראים ״טוב מספיק״, אישית אני כבר לא מתלהב מהגראפיקה שלהם, אפילו TLOU2 כבר לא הלהיב אותי גראפית כי זהו כבר הגענו לשיאים הגראפיים של הדור הזה (עם אנצ׳רטד 4, הוריזון ובעיקר RDR2 שסגר את הגולל) ומאז כל מה שראינו מקסימום מרגיש כבר איטרציה קטנה (במקרה הטוב, לרוב RDR2 עדיין יותר מרשים מכל מה שיוצא) ולא גראפיקה ברמה שלא נראתה בעבר אבל בניגוד לדורות קודמים הכל נראה כבר ממש מצויין ונעים לעין.

ועדיין רק תראה את ההדגמה שקיאו הביא של הסופה מאנריל 4 ותדמיין משחק עולפ פתוח כמו RDR3 נגיד עם סערה כזאת, יש המון עוד לאן להתקדם וזה שמשחקים נראים באמת יפים לעין היום זה לא אומר שאנחנו מגרדים את השטח בכלל של הפוטנציאל של המדיום שטכנולוגיה מתקדמת יכולה לממש.

אני חושב שמה שחשוב בהדגמת סופה הזאת הוא שמדובר ב-UE4. כלומר זה לא איזו מגה מפתחת כמו רוקסטאר שבונה את RDR2 ובערך 99.99% מהתעשיה לא יכול לגעת בזה. מדובר ב-UE4 שכל אחד יכול להוריד למחשב שלו ונעשה על ידי בחור אחד מה שאומר שזה לא משהו שנמצא מעבר להישג יד ברגע שיש כוח של הדור הבא לעבוד איתו. אז כמובן שהכי מעניין מה חברות כמו רוקסטאר או נוטידוג יעשו עם הדור הבא, אבל זה גם מראה איזו קפיצה חברות אחרות יעשו מעל לגרפיקה של משחקים כמו RDR2 או TLOU2 בדור הבא. כלומר אם בחור אחד עם UE4 עושה את זה, מה לעזאזל נוטידוג ורוקסטאר יעשו דור הבא?
We're just normal men. We're just innocent men

idan
Veteran
הודעות: 2280
הצטרף: 04 אוגוסט 2013, 00:13

Re: נושא הדור הבא

הודעהעל ידי idan » 10 אוקטובר 2019, 19:02

bling כתב:עידן, מסכים איתך אני חושב שזה הדור הראשון שאפשר לאמר שגם אם מחר ההתפתחות הטכנולוגית היתה נעצרת, משחקים בהחלט נראים ״טוב מספיק״, אישית אני כבר לא מתלהב מהגראפיקה שלהם, אפילו TLOU2 כבר לא הלהיב אותי גראפית כי זהו כבר הגענו לשיאים הגראפיים של הדור הזה (עם אנצ׳רטד 4, הוריזון ובעיקר RDR2 שסגר את הגולל) ומאז כל מה שראינו מקסימום מרגיש כבר איטרציה קטנה (במקרה הטוב, לרוב RDR2 עדיין יותר מרשים מכל מה שיוצא) ולא גראפיקה ברמה שלא נראתה בעבר אבל בניגוד לדורות קודמים הכל נראה כבר ממש מצויין ונעים לעין.

ועדיין רק תראה את ההדגמה שקיאו הביא של הסופה מאנריל 4 ותדמיין משחק עולפ פתוח כמו RDR3 נגיד עם סערה כזאת, יש המון עוד לאן להתקדם וזה שמשחקים נראים באמת יפים לעין היום זה לא אומר שאנחנו מגרדים את השטח בכלל של הפוטנציאל של המדיום שטכנולוגיה מתקדמת יכולה לממש.


זה לא העניין, אני מוכן לדור הבא כבר מלפני שנתיים בערך ואני בטוח שהקפיצה תהיה מלהיבה כמו תמיד.
אני רק אומר שמשחקים כמו סייברפאנק, פפ7, tlou2, GOT וכו' עדיין נראים ממש טוב בעיני. אין בהם כנראה יותר מידי שלא ראינו במשחקים הכי יפים של השנים הקודמות, אבל מדובר בעולמות חדשים ברמת גימור הכי גבוה וזה עדיין עושה לי את זה בדור הזה, לא נמאס לי. וזה אפילו לא רק העניין הגרפי אני מרגיש שאנחנו פשוט בתקופה ממש טובה מבחינה איכותית ,יש לך שנה הבאה משחקים כמו אלדן רינג ובאלדר גייט 3 והולו נייט 2 ואולי אחד מהשניים הגדולים של נינטנדו שכנראה לא יהיו בטופ הגרפי מבחינה טכנית אבל עדיין עושים לי את זה לא פחות מאף משחק.
לקראת סוף הדור הקודם ממש הרגשתי חוסר התלהבות מכל התחביב הזה שלנו ופשוט לא נגעתי כמעט במשחקי וידיאו, אני חושב ש 2011 הייתה השנה הטובה האחרונה בדור ההוא מבחינתי והשנתיים האחרונות נמתחו כמו מסטיק (אם כי לא היה לי פס3 אז אולי זה חלק מהעניין). היום נראה לי שהתעשייה נמצאת במקום הרבה יותר טוב, אשכרה יש יותר מידי משחקים מעולים בשביל להספיק לשחק בכולם ומשחקים גם הגיעו לאיזו רמה גרפית שהיא פשוט סבבה בכל הרמות, ממשחקי AAA הכי גדולים ועד משחקי אינדי. אפילו נינטנדו עם הפיגור הטכנולוגי המובנה שלהם - המשחקים שלהם עם הסטייל המצוייר נראים פשוט אחלה על ה switch, אי אפשר בכלל להשוות ל wii והמשחקים שלו שלקראת הסוף כבר בקושי היה אפשר להסתכל עליהם.

סמל אישי של המשתמש
DrKeo
Site Admin
הודעות: 42472
הצטרף: 08 אפריל 2013, 23:19

Re: נושא הדור הבא

הודעהעל ידי DrKeo » 10 אוקטובר 2019, 19:29

idan כתב:
bling כתב:עידן, מסכים איתך אני חושב שזה הדור הראשון שאפשר לאמר שגם אם מחר ההתפתחות הטכנולוגית היתה נעצרת, משחקים בהחלט נראים ״טוב מספיק״, אישית אני כבר לא מתלהב מהגראפיקה שלהם, אפילו TLOU2 כבר לא הלהיב אותי גראפית כי זהו כבר הגענו לשיאים הגראפיים של הדור הזה (עם אנצ׳רטד 4, הוריזון ובעיקר RDR2 שסגר את הגולל) ומאז כל מה שראינו מקסימום מרגיש כבר איטרציה קטנה (במקרה הטוב, לרוב RDR2 עדיין יותר מרשים מכל מה שיוצא) ולא גראפיקה ברמה שלא נראתה בעבר אבל בניגוד לדורות קודמים הכל נראה כבר ממש מצויין ונעים לעין.

ועדיין רק תראה את ההדגמה שקיאו הביא של הסופה מאנריל 4 ותדמיין משחק עולפ פתוח כמו RDR3 נגיד עם סערה כזאת, יש המון עוד לאן להתקדם וזה שמשחקים נראים באמת יפים לעין היום זה לא אומר שאנחנו מגרדים את השטח בכלל של הפוטנציאל של המדיום שטכנולוגיה מתקדמת יכולה לממש.


זה לא העניין, אני מוכן לדור הבא כבר מלפני שנתיים בערך ואני בטוח שהקפיצה תהיה מלהיבה כמו תמיד.
אני רק אומר שמשחקים כמו סייברפאנק, פפ7, tlou2, GOT וכו' עדיין נראים ממש טוב בעיני. אין בהם כנראה יותר מידי שלא ראינו במשחקים הכי יפים של השנים הקודמות, אבל מדובר בעולמות חדשים ברמת גימור הכי גבוה וזה עדיין עושה לי את זה בדור הזה, לא נמאס לי. וזה אפילו לא רק העניין הגרפי אני מרגיש שאנחנו פשוט בתקופה ממש טובה מבחינה איכותית ,יש לך שנה הבאה משחקים כמו אלדן רינג ובאלדר גייט 3 והולו נייט 2 ואולי אחד מהשניים הגדולים של נינטנדו שכנראה לא יהיו בטופ הגרפי מבחינה טכנית אבל עדיין עושים לי את זה לא פחות מאף משחק.
לקראת סוף הדור הקודם ממש הרגשתי חוסר התלהבות מכל התחביב הזה שלנו ופשוט לא נגעתי כמעט במשחקי וידיאו, אני חושב ש 2011 הייתה השנה הטובה האחרונה בדור ההוא מבחינתי והשנתיים האחרונות נמתחו כמו מסטיק (אם כי לא היה לי פס3 אז אולי זה חלק מהעניין). היום נראה לי שהתעשייה נמצאת במקום הרבה יותר טוב, אשכרה יש יותר מידי משחקים מעולים בשביל להספיק לשחק בכולם ומשחקים גם הגיעו לאיזו רמה גרפית שהיא פשוט סבבה בכל הרמות, ממשחקי AAA הכי גדולים ועד משחקי אינדי. אפילו נינטנדו עם הפיגור הטכנולוגי המובנה שלהם - המשחקים שלהם עם הסטייל המצוייר נראים פשוט אחלה על ה switch, אי אפשר בכלל להשוות ל wii והמשחקים שלו שלקראת הסוף כבר בקושי היה אפשר להסתכל עליהם.

דווקא 2013 הייתה אחת השנים הכי טובות של הדור הקודם לדעתי. משחקים כמו הריבוט של TR, ביושוק אינפנט, GTAV ו-TLOU עשו חותם ממש גדול על התעשיה.
We're just normal men. We're just innocent men

Laskin
Elder
הודעות: 24472
הצטרף: 26 מאי 2013, 14:06

Re: נושא הדור הבא

הודעהעל ידי Laskin » 11 אוקטובר 2019, 01:46

פתאום סתם חשבתי על השלט הפס5 עם הטריגרים, ואיזה כיף לנדב שלא שיחק בGOW כי בטח יוציאו לזה תמיכה במשחק והגרזן ירגיש אפילו עוד יותר טוב :)
זה באמת נשמע לי מגניב, נגיד כל פעם שפותחים דלת או קופסא, אז צריך ״להפעיל כח״ כדי לפתוח... רק שיהיה עמיד

סמל אישי של המשתמש
DrKeo
Site Admin
הודעות: 42472
הצטרף: 08 אפריל 2013, 23:19

Re: נושא הדור הבא

הודעהעל ידי DrKeo » 13 אוקטובר 2019, 02:06

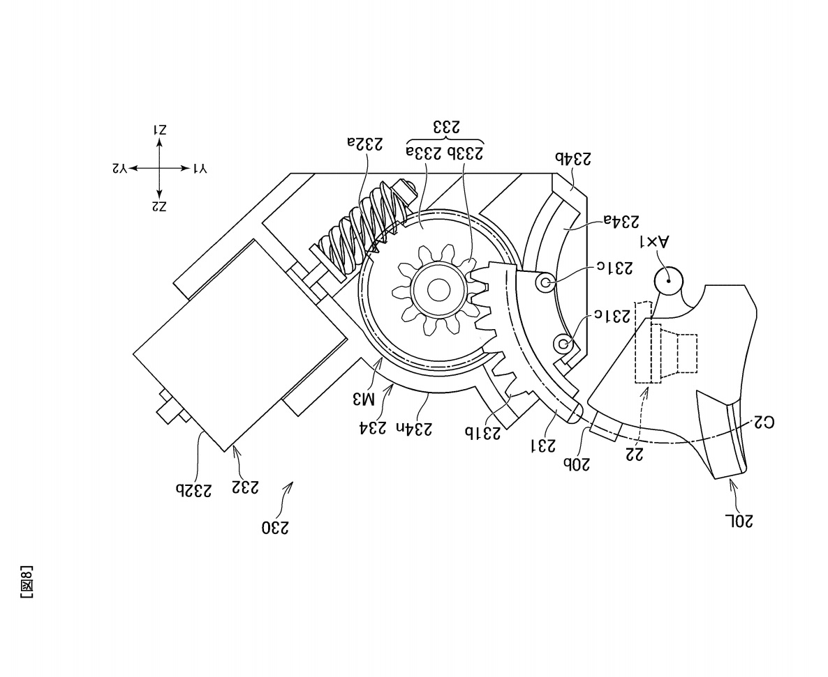
למי שתהה איך הטריגרים עובדים, הנה הפטנט:
http://pdf.sumobrain.com/WO2019142918A1 ... #view=FitH

controller2.jpg
controller2.jpg (162.35 KiB) נצפה 11070 פעמים

controller.jpg
controller.jpg (162.4 KiB) נצפה 11070 פעמים


יש מנוע שמסובב בורג, הבורג מסובב גלגל שיניים שמחובר לפטיש שמפעיל לחץ על הטריגר ומתנגד אליו. התמונה נראת הפוכה מבחינת הכיתוב אבל סובבתי אותה לאוריאנטציה הכי הגיונית לתצורה של שלט מהצד.
We're just normal men. We're just innocent men

סמל אישי של המשתמש
DrKeo
Site Admin
הודעות: 42472
הצטרף: 08 אפריל 2013, 23:19

Re: נושא הדור הבא

הודעהעל ידי DrKeo » 13 אוקטובר 2019, 14:32

העורך של EGM לשעבר בEra:
The demo I saw had the very best real time graphics I've ever seen. And what I mean by that is it looked like a real game you can play.

Not some super polished UE4 or Unity technical demo that you would see at gdc.

To me, there was no mistaking this for a current generation on PC or console.

To be clear, in terms of scope, lighting and environment dynamics, RDR2 or TLOU2 aren't even in the same time zone as this.

and yeah, it kinda was like a Shadowfall moment to me in that it seemed totally different from what I've been used to in the previous generation.

Now granted, Framerate was maybe 25 to 30-ish and it was early, early,early. But I actually said out loud WTF when I first saw it.

Hugely impressive
We're just normal men. We're just innocent men

סמל אישי של המשתמש
Uncle Pey'j
Veteran
הודעות: 4958
הצטרף: 04 מרץ 2016, 13:06

Re: נושא הדור הבא

הודעהעל ידי Uncle Pey'j » 13 אוקטובר 2019, 14:34

הוא חוזר על מה שכבר כתב בעבר,אבל עדיין כיף לשמוע :)
הוא גם אומר שלמיטב ידיעתו יש עוד לפחות 2 רוויזיות של ה-dev kit של הפס5,ושאנשים הולכים להתאכזב כשהם יגלו כמה דומות הפס5 והסקארלט באמת. גם הוא אומר שהשוני העיקרי יהיה שירותים,UI ואקסקלוסיבים. כמו שצריך להיות לדעתי.

סמל אישי של המשתמש
bling
Elder
הודעות: 10306
הצטרף: 13 אפריל 2013, 23:22

Re: נושא הדור הבא

הודעהעל ידי bling » 13 אוקטובר 2019, 15:25

הפטנט של השלט נשמע מגניב ביותר, מעניין איך זה יעבוד בפועל ואם זה יהיה מעבר לגימיק.

אגב סוני אמרו בריאיון הזה ב WIRED שהראמבל המשודרג היה מוכן כבר להשקה של הפס4 פרו אם היו רוצים אבל הם החליטו לא ללכת על זה כי לא רצו לפצל את המשתמשים (והסיבה הכנראה אמיתית: כי התועלת של זה כשדרוג אמצע הדור היתה שולית לעומת פיצ'ר דור הבא נחשק), הסיבה שהם בחרו לציין את זה מעבר לאנקדוטה זה לשלוח מסר שנינטנדו לא המציאה את זה וגם הם עבדו על זה במקביל, אולי כדי למנוע את כל הירידות בעתיד כשזה יצא שסוני מחקה את נינטנדו.

מה שהעורך של EGM אומר שם זה כמובן הייפ מטורף, הרי מדובר במשחק תחילת דור, תקופה שלרוב לא רואים בה קפיצות כאלה מרשימות, ואם הוא מציין שהמשחק הזה עושה ככה קציצות מהטופ של הדור הזה כמו RDR2 ו TLOU2 אז למה עוד יש לנו לצפות?

אגב, מה עם המדליף הסיני ששפך מים קרים על הכח של הפס5, יש אישור או מידע שסותר את מה שאמר?

סמל אישי של המשתמש
DrKeo
Site Admin
הודעות: 42472
הצטרף: 08 אפריל 2013, 23:19

Re: נושא הדור הבא

הודעהעל ידי DrKeo » 13 אוקטובר 2019, 16:20

גם התחילו לזרוק עליו כל מני דמואים טכנים וסרטוני cgi מהדור הקודם והוא אמר שזה הכי היה דומה לטריילר cgi של acu:


בנוגע לבחור הסיני, השפיכת מים הקרים שלו הייתה הגודל של הצ׳יפ. כלומר אם מה שהוא אומר נכון זה אומר ששוב סוני ״זרקו עלינו״, אבל הפעם הקפיצה הרבה יותר משמעותית משל הדור הקודם כך שזה כבר הופך לעניין פילוסופי, פחות קונסולה מאכזבת ויותר ״תארו לעצמכם איך הדור הבא היה נראה אם...״.
We're just normal men. We're just innocent men

סמל אישי של המשתמש
bling
Elder
הודעות: 10306
הצטרף: 13 אפריל 2013, 23:22

Re: נושא הדור הבא

הודעהעל ידי bling » 13 אוקטובר 2019, 17:26

הטריילר הזה של AC מבחינה ויזואלית הוא טיפה מוזר, לפעמים הוא נראה באמת ״gamey” כזה שאפשר להאמין שככה יראה המשחק ולפעמים הוא מפוצץ ראשים עם רמת פירוט של אין מצב שיראה ככה. נצטרך לחכות ולראות אבל אם נגיע לכזה באנצ׳מרק בשלב יחסית מוקדם של הדור הבא אז זה יהיה מדהים.

היי, אולי הוא בעצם ראה AC שרץ על הפס5 ולכן הוא השתמש בדוגמא שקרובה לזה, הגיוני שהאמנים של יובי יצליחו יותר להוציא לפועל את החזון שלהם על חומרה חזקה יותר.

בקשר למדליף הסיני, אני לא מבין משהו קיאו, אם הוא צודק זה לא אומר שבעצם נקבל כוח גראפי חלש הרבה יותר? זאת אומרת במקום נגיד ה 10TF (בסטנדרט המחמיר יותר) שאנחנו בונים עליו זה בעצם יצא 9 או 8 בגלל גודל הצ׳יפ?

אל תתפס למספרים כי אני לא זוכר בדיוק למה אנחנו מצפים בתסריט החלומות, הנקודה היא שאם הוא צודק לגבי גודל הצ׳יפ אז תסריט החלומות נשבר וצריך לצפות לקונסולה חלשה יותר בסופו של דבר.

Kazz
Veteran
הודעות: 4550
הצטרף: 17 אפריל 2013, 12:22

Re: נושא הדור הבא

הודעהעל ידי Kazz » 13 אוקטובר 2019, 17:38

הדגמה של הדור הבא נראית יותר מרשים הנוכחי? מה אתם אומרים.

Laskin
Elder
הודעות: 24472
הצטרף: 26 מאי 2013, 14:06

Re: נושא הדור הבא

הודעהעל ידי Laskin » 13 אוקטובר 2019, 18:15

כשזה כולל גם מחשב - זה אומר משהו קאז.

ההימור שלי הוא שמדובר בHorizon 2

סמל אישי של המשתמש
Uncle Pey'j
Veteran
הודעות: 4958
הצטרף: 04 מרץ 2016, 13:06

Re: נושא הדור הבא

הודעהעל ידי Uncle Pey'j » 13 אוקטובר 2019, 18:59

Laskin כתב:כשזה כולל גם מחשב - זה אומר משהו קאז.

ההימור שלי הוא שמדובר בHorizon 2

הוא אמר שמדובר במשחק מולטיפלטפורם שהוא ראה רץ על ערכת פיתוח של הפס5,אז לא מדובר בהורייזון.

ואני לא מסכים איתך קאז,אני עדיין זוכר שבהדגמה של קילזון בחשיפה של הפס4 ממש שאלתי את עצמי מתי הנקודה שאני אמור להתלהב ולהגיד 'וואו' ואני חושב שהדבר הכי קרוב שהגעתי אליו היה השניות הראשונות של אותו דמו ומשם כלום,בעיקר כי קרייסיס 3 כבר היה בחוץ ועל המחשב הוא היה מרשים לפחות כמוהו,אם לא יותר. אז לא מובן מאליו שהבחור אומר שהדמו שהוא ראה (ובואו לא נשכח,מדובר באחד המשחקים הראשונים שבפיתוח לדור הבא) בועט בטופ של הדור הנוכחי,בכלל לא.

kririn
Sage
הודעות: 5448
הצטרף: 14 אפריל 2013, 15:40

Re: נושא הדור הבא

הודעהעל ידי kririn » 13 אוקטובר 2019, 19:06

bling כתב:הפטנט של השלט נשמע מגניב ביותר, מעניין איך זה יעבוד בפועל ואם זה יהיה מעבר לגימיק.

אגב סוני אמרו בריאיון הזה ב WIRED שהראמבל המשודרג היה מוכן כבר להשקה של הפס4 פרו אם היו רוצים אבל הם החליטו לא ללכת על זה כי לא רצו לפצל את המשתמשים (והסיבה הכנראה אמיתית: כי התועלת של זה כשדרוג אמצע הדור היתה שולית לעומת פיצ'ר דור הבא נחשק), הסיבה שהם בחרו לציין את זה מעבר לאנקדוטה זה לשלוח מסר שנינטנדו לא המציאה את זה וגם הם עבדו על זה במקביל, אולי כדי למנוע את כל הירידות בעתיד כשזה יצא שסוני מחקה את נינטנדו.

מה שהעורך של EGM אומר שם זה כמובן הייפ מטורף, הרי מדובר במשחק תחילת דור, תקופה שלרוב לא רואים בה קפיצות כאלה מרשימות, ואם הוא מציין שהמשחק הזה עושה ככה קציצות מהטופ של הדור הזה כמו RDR2 ו TLOU2 אז למה עוד יש לנו לצפות?

אגב, מה עם המדליף הסיני ששפך מים קרים על הכח של הפס5, יש אישור או מידע שסותר את מה שאמר?


עדין נינטנדו יצא עם זה קודם
לפחות במוצר מינסטרים
עם יתגלה בעתיד מוצר זניח שבפועל קיבל את זה לפני

אבל היסטוריה של סוני בתחום התחילה עם פיתוח הציפ סאונד
לsnes
ומאוחר יותר פיצוץ העסקה לפתח cd SNES

idan
Veteran
הודעות: 2280
הצטרף: 04 אוגוסט 2013, 00:13

Re: נושא הדור הבא

הודעהעל ידי idan » 13 אוקטובר 2019, 19:22

נינטנדו יצאו עם זה קודם אבל חוץ מהמשחק ההוא שחולבים פרות לא ראיתי שהם עשו עם זה יותר מידי. אני לפחות לא הצלחתי להבין מה הפואנטה של ה hd ראמבל במשחקים שיש לי על ה switch.

אם הדור הבא יראה כמו בסרטון cgi של אססין קריד זה יהיה מטורף לגמרי, אבל קשה לי להאמין.

Laskin
Elder
הודעות: 24472
הצטרף: 26 מאי 2013, 14:06

Re: נושא הדור הבא

הודעהעל ידי Laskin » 13 אוקטובר 2019, 19:36

Uncle Pey'j כתב:
Laskin כתב:כשזה כולל גם מחשב - זה אומר משהו קאז.

ההימור שלי הוא שמדובר בHorizon 2

הוא אמר שמדובר במשחק מולטיפלטפורם שהוא ראה רץ על ערכת פיתוח של הפס5,אז לא מדובר בהורייזון.

ואני לא מסכים איתך קאז,אני עדיין זוכר שבהדגמה של קילזון בחשיפה של הפס4 ממש שאלתי את עצמי מתי הנקודה שאני אמור להתלהב ולהגיד 'וואו' ואני חושב שהדבר הכי קרוב שהגעתי אליו היה השניות הראשונות של אותו דמו ומשם כלום,בעיקר כי קרייסיס 3 כבר היה בחוץ ועל המחשב הוא היה מרשים לפחות כמוהו,אם לא יותר. אז לא מובן מאליו שהבחור אומר שהדמו שהוא ראה (ובואו לא נשכח,מדובר באחד המשחקים הראשונים שבפיתוח לדור הבא) בועט בטופ של הדור הנוכחי,בכלל לא.


אה, איכשהו פספסתי את זה
אבל רגע, הכתב לא טוען שם שקילזון לפס4 גם כן גרם לו להרגיש שזה הדור הבא? אולי גם פה פספסתי שוב מילת מפתח :)
טוב נו, עוד הימור:
באטמן הבא. או הבא של רוקסטדי ;)

סמל אישי של המשתמש
DrKeo
Site Admin
הודעות: 42472
הצטרף: 08 אפריל 2013, 23:19

Re: נושא הדור הבא

הודעהעל ידי DrKeo » 13 אוקטובר 2019, 19:37

bling כתב:הטריילר הזה של AC מבחינה ויזואלית הוא טיפה מוזר, לפעמים הוא נראה באמת ״gamey” כזה שאפשר להאמין שככה יראה המשחק ולפעמים הוא מפוצץ ראשים עם רמת פירוט של אין מצב שיראה ככה. נצטרך לחכות ולראות אבל אם נגיע לכזה באנצ׳מרק בשלב יחסית מוקדם של הדור הבא אז זה יהיה מדהים.

היי, אולי הוא בעצם ראה AC שרץ על הפס5 ולכן הוא השתמש בדוגמא שקרובה לזה, הגיוני שהאמנים של יובי יצליחו יותר להוציא לפועל את החזון שלהם על חומרה חזקה יותר.


הוא כבר אמר שזה עולם פתוח, רץ בUE, מפותח על ידי צד ג׳ וזה ip חדש. אבל אולי זה באמת של יוביסופט :)
bling כתב:בקשר למדליף הסיני, אני לא מבין משהו קיאו, אם הוא צודק זה לא אומר שבעצם נקבל כוח גראפי חלש הרבה יותר? זאת אומרת במקום נגיד ה 10TF (בסטנדרט המחמיר יותר) שאנחנו בונים עליו זה בעצם יצא 9 או 8 בגלל גודל הצ׳יפ?

אל תתפס למספרים כי אני לא זוכר בדיוק למה אנחנו מצפים בתסריט החלומות, הנקודה היא שאם הוא צודק לגבי גודל הצ׳יפ אז תסריט החלומות נשבר וצריך לצפות לקונסולה חלשה יותר בסופו של דבר.

קשה לחשב כמה cu נכנסים בדיוק לגודל ספציפי של צ׳יפ, ביחוד שהם עושים סידור מחדש של כל חלקי הפנים בין gpu שונים. אז זה שהצ׳יפ קטן זה לא אומר שאנחנו לא נקבל את הצ׳יפ שדברנו עליו. אבל זה כן אומר שהוא חלש ממה שהם יכלו לעשות.
We're just normal men. We're just innocent men

סמל אישי של המשתמש
Uncle Pey'j
Veteran
הודעות: 4958
הצטרף: 04 מרץ 2016, 13:06

Re: נושא הדור הבא

הודעהעל ידי Uncle Pey'j » 13 אוקטובר 2019, 19:41

לא מאמין לרגע שה-SOC כל כך קטן. ראבק,זה אפילו קטן יותר מהפס4,וכולנו יודעים היום כמה סוני התקמצנה עלינו איתה. אני בטוח שמדובר בצ'יפ גדול יותר.

סמל אישי של המשתמש
DrKeo
Site Admin
הודעות: 42472
הצטרף: 08 אפריל 2013, 23:19

Re: נושא הדור הבא

הודעהעל ידי DrKeo » 13 אוקטובר 2019, 20:51

אני גם לא חושב שזה צ׳יפ של 300ממ״ר, בהחלט קטן מדי. אני גם לא קונה את ה2000Mhz, אני יודע שזאת דליפה אמינה אבל היא מגיעה מדוגמת מהנדסים שבטעות הריצו אותה כשהחיבור אינטרנט פתוח. אני בטוח שהריצו אלפי בנצ׳מארקים על עשרות דגימות מהנדסים שונות וזה שבמקרה קבלנו הצצה לבנצ׳מארק אחד בודד, זה לא באמת אומר הרבה. לדוגמה מיקרוסופט ניסתה 16cu במהירות שעון נמוכה יותר עם הone, בסוף הלכה על 12cu במהירות שעון גבוהה יותר. אז אם בדיוק הבדיקה הזאת הייתה דולפת בזמנו אז היינו חושבים שיש באקסבוקס 16cu.

בקיצור, הבחור הסיני סתם סורק מאגרי נתונים של בנצ׳מארקים לחלקים לא מוכרים ומדי פעם משהו קופץ לו לעין. וכן, זה כנראה הצ׳יפ של הפס5 בגלל השמות השקייספירים אבל אלוהים יודע איזו בדיקה זאת הייתה ולמה הצ׳יפ רץ ב2000Mhz באותה בדיקה. לי זה נשמע גבוה מדי לקונסולה, אפילו ה5700xt לא מגיע למהירות הזאת. בקיצור, נחכה ונראה.
We're just normal men. We're just innocent men

סמל אישי של המשתמש
Uncle Pey'j
Veteran
הודעות: 4958
הצטרף: 04 מרץ 2016, 13:06

Re: נושא הדור הבא

הודעהעל ידי Uncle Pey'j » 16 אוקטובר 2019, 21:20

טרי מעכשיו: העורך של EGM אמר ב-Era שהפס5 *קצת* יותר חזקה מהסקארלט ממה שהוא יודע. קיצר,זו מלחמת clocks,שום דבר מעבר.

סמל אישי של המשתמש
DrKeo
Site Admin
הודעות: 42472
הצטרף: 08 אפריל 2013, 23:19

Re: נושא הדור הבא

הודעהעל ידי DrKeo » 16 אוקטובר 2019, 21:56

Uncle Pey'j כתב:טרי מעכשיו: העורך של EGM אמר ב-Era שהפס5 *קצת* יותר חזקה מהסקארלט ממה שהוא יודע. קיצר,זו מלחמת clocks,שום דבר מעבר.

אם ההפרש קטן, זה אומר שאם צד מסויים מוכן לזרוק על זה כסף (כלומר עלות היצור של ה-APU), הוא ינצח במלחמת הכוח. זה גם אומר שהמנצח יהיה בהפרש קטן וחסר משמעות מה שאומר ששתי הקונסולות הן בייסיקלי אותו דבר, אשכרה ההבדל היחיד הוא הבלעדיים הפעם (וכמובן כל מני דברים קטנים כמו איזה שלט הכי נוח או OS הכי טוב).

אגב, זה הציטוט המדוייק:
PlayStation 5 is supposedly slightly more powerful than the Xbox Scarlett.

Slightly.


אני חושב שמה שהכי משמח אותי הוא שאני יודע שמיקרוסופט, אחרי כל קמפיין "אנחנו בונים מפלצת" והאקסבקוס X, כיוונו ממש גבוה עם סקראלט. אם הפס5 חזקה מזה, אפילו ב-1%, אומר שגם סוני כיוונו לאותו גובה וזה אומר שגם נקבל קונסולות חזקות ונהדרות וגם לא יהיה "מחנה משותף נמוך" כמו הONE בדור הנוכחי.
We're just normal men. We're just innocent men

Laskin
Elder
הודעות: 24472
הצטרף: 26 מאי 2013, 14:06

Re: נושא הדור הבא

הודעהעל ידי Laskin » 16 אוקטובר 2019, 22:12

העניין של השלט יכול להוות משקל מעט כבד יותר אם לסוני יש משהו מתקדם שאין למתחרה, אבל נראה לי שמיקרוסופט לא יישארו חייבים בעניין הזה.
יש גם את עניין המציאות המדומה שיכול להיות יתרון נוסף, וסוני נמצאת שם עם ספרייה לא רעה בכלל כבר עכשיו כך שמי שירכוש את הבאה שלהם בטח יהנה כמו שצריך כבר מההתחלה.

אבל כמובן שעדיין הבלעדיים זה הדבר הכי חשוב, בהפרש גדול

סמל אישי של המשתמש
DrKeo
Site Admin
הודעות: 42472
הצטרף: 08 אפריל 2013, 23:19

Re: נושא הדור הבא

הודעהעל ידי DrKeo » 16 אוקטובר 2019, 22:16

Laskin כתב:העניין של השלט יכול להוות משקל מעט כבד יותר אם לסוני יש משהו מתקדם שאין למתחרה, אבל נראה לי שמיקרוסופט לא יישארו חייבים בעניין הזה.
יש גם את עניין המציאות המדומה שיכול להיות יתרון נוסף, וסוני נמצאת שם עם ספרייה לא רעה בכלל כבר עכשיו כך שמי שירכוש את הבאה שלהם בטח יהנה כמו שצריך כבר מההתחלה.

אבל כמובן שעדיין הבלעדיים זה הדבר הכי חשוב, בהפרש גדול

למיקרוסופט גם יש פטנטים בנושא התנגדות בשלט ואני די בטוח שגם השלט שלהם ינסה לעשות דברים בסגנון. נצטרך לחכות ולראות אבל דווקא בגזרת השלט מיקרוסופט לרוב היא חלוצה והוא נורא חשוב להם כך שיהיה קרב אימתני בתחום הזה.

VR ישפיע על הדור הבא? לאסקין, נראה לי שזה אתה ועוד 5000 אנשים :)
אם מיקרוסופט רוצה להפיל פצצה בגזרת ה-VR, הם פשוט יגידו שסקארלט תומכת ב-DX-VR וכל קסדה שמחברים ל-PC תעבוד על הסקראלט. זה כבר יעורר גלים בתחום.
We're just normal men. We're just innocent men


חזור אל “פורום משחקים”

מי מחובר

משתמשים הגולשים בפורום זה: Google [Bot] ו־ 17 אורחים